TIPOS DE SUELDA
TIPOS
DE SUELDA
SOLDADURA
BLANDA:
Es
un tipo de soldadura heterogénea, es decir, los materiales a
soldar pueden ser de la misma o distinta naturaleza, se caracteriza
por la utilización de un tipo de material de bajo punto de
fusión, por debajo de los 400c, normalmente emplea el estaño,
cuya fusión se produce entre los 200c.
La
ejecución de esta soldadura representa las siguientes
ventajas; las piezas a unir no se funden, cuando esta en estado
liquido el material de aportación penetra en las
irregularidades de las piezas a unir, la unión se realiza
mediante el material de aportación, no de las piezas
directamente.
USO
DE LOS FUNDENTES:
El
uso de estos es para fundir diferentes metales, entre ellos el plomo,
el cobre, es muy utilizado en los sistemas de soldaduras, El éxito
de la soldadura depende en gran parte del fundente.
El
mismo evita la oxidación durante el proceso de soldadura,
reduce los óxidos ya formados y disminuye la tensión
superficial del material de aporte.
Los
fundentes aglomerados se hacen mezclando los constituyentes,
finamente pulverizados, con una solución acuosa de un
aglomerante tal como silicato sódico; la finalidad es producir
partículas de unos pocos milímetros de diámetro
formados por una masa de partículas más finas de los
componentes minerales. Después de la aglomeración el
fundente se seca a temperatura de hasta 800º C.
Los
fundentes sinterizados se hacen calentando pellets (bola de mineral
de hierro aglomerado de pequeño tamaño) componentes
pulverizados a temperaturas justo por debajo del punto de fusión
de algunos de los componentes. Las temperaturas alcanzadas durante la
fabricación limitan los componentes de los fundentes. Para
fundir un fundente las temperaturas deben ser tan altas que los
carbonatos y muchos otros minerales se descomponen, por lo cual los
fundentes básicos que llevan carbonatos deben hacerse por
alguno de los otros procedimientos, tales como aglomeración.
Se
ha sabido durante años que la baja tenacidad se favorece con
el uso de fundentes ácidos y que los fundentes de elevado
contenido en silicio tienden a comunicar oxígeno al metal
soldado. Inversamente los fundentes básicos dan un metal
soldado limpio, con pocas inclusiones no metálicas, y,
consecuentemente, de elevada tenacidad. Tanto la composición
del fundente como su estado de división influyen en el control
de la porosidad.
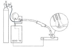
Características
de los elementos de la soldadura oxiacetilénica:
Los
gases en estado comprimido son en la actualidad prácticamente
indispensables para llevar a cabo la mayoría de los procesos
de soldadura. Por su gran capacidad inflamable, el gas más
utilizado es el acetileno que, combinado con el oxígeno, es la
base de la soldadura oxiacetilénica y oxicorte, el tipo de
soldadura por gas más utilizado.
Por
otro lado y a pesar de que los recipientes que contienen gases
comprimidos se construyen de forma suficientemente segura, todavía
se producen muchos accidentes por no seguir las normas de seguridad
relacionadas con las operaciones complementarias de manutención,
transporte, almacenamiento y las distintas formas de utilización.
Manorreductores:
Los
manorreductores pueden ser de uno o dos grados de reducción en
función del tipo de palanca o membrana. La función que
desarrollan es la transformación de la presión de la
botella de gas (150 atm) a la presión de trabajo (de 0,1 a 10
atm) de una forma constante. Están situados entre las botellas
y los sopletes.
Soplete:
Es
el elemento de la instalación que efectúa la mezcla de
gases. Pueden ser de alta presión en el que la presión
de ambos gases es la misma, o de baja presión en el que el
oxígeno (comburente) tiene una presión mayor que el
acetileno (combustible). Las partes principales del soplete son las
dos conexiones con las mangueras, dos llaves de regulación, el
inyector, la cámara de mezcla y la boquilla.
Válvulas
antirretroceso:
Son
dispositivos de seguridad instalados en las conducciones y que sólo
permiten el paso de gas en un sentido impidiendo, por tanto, que la
llama pueda retroceder. Están formadas por una envolvente, un
cuerpo metálico, una válvula de retención y una
válvula de seguridad contra sobre presiones. Pueden haber más
de una por conducción en función de su longitud y
geometría.
Conducciones:
Las
conducciones sirven para conducir los gases desde las botellas hasta
el soplete. Pueden ser rígidas o flexibles
Utilización
de botellas:
Las
botellas deben estar perfectamente identificadas en todo momento, en
caso contrario deben inutilizarse y devolverse al proveedor.
Todos
los equipos, canalizaciones y accesorios deben ser los adecuados a la
presión y gas a utilizar.
Las
botellas de acetileno llenas se deben mantener en posición
vertical, al menos 12 horas antes de ser utilizadas. En caso de tener
que tumbarlas, se debe mantener el grifo con el orificio de salida
hacia arriba, pero en ningún caso a menos de 50 cm del suelo.
Los
grifos de las botellas de oxígeno y acetileno deben situarse
de forma que sus bocas de salida apunten en direcciones opuestas.
Las
botellas en servicio deben estar libres de objetos que las cubran
total o parcialmente.
Las
botellas deben estar a una distancia entre 5 y 10 m de la zona de
trabajo.
Antes
de empezar una botella comprobar que el manómetro marca “cero”
con el grifo cerrado.
Si
el grifo de una botella se atasca, no se debe forzar la botella, se
debe devolver al suministrador marcando convenientemente la
deficiencia detectada.
Antes
de colocar el manorreductor, debe purgarse el grifo de la botella de
oxígeno, abriendo un cuarto de vuelta y cerrando a la mayor
brevedad.
Colocar
el manorreductor con el grifo de expansión totalmente abierto;
después de colocarlo se debe comprobar que no existen fugas
utilizando agua jabonosa, pero nunca con llama. Si se detectan fugas
se debe proceder a su reparación inmediatamente.
Abrir
el grifo de la botella lentamente; en caso contrario el reductor de
presión podría quemarse.
Las
botellas no deben consumirse completamente pues podría entrar
aire. Se debe conservar siempre una ligera sobre presión en su
interior.
Cerrar
los grifos de las botellas después de cada sesión de
trabajo. Después de cerrar el grifo de la botella se debe
descargar siempre el manorreductor, las mangueras y el soplete.
La
llave de cierre debe estar sujeta a cada botella en servicio, para
cerrarla en caso de incendio. Un buen sistema es atarla al
manorreductor.
Las
averías en los grifos de las botellas debe ser solucionadas
por el suministrador, evitando en todo caso el desmontarlos.
No
sustituir las juntas de fibra por otras de goma o cuero.
Si
como consecuencia de estar sometidas a bajas temperaturas se hiela el
manorreductor de alguna botella utilizar paños de agua
caliente para deshelaras.
Verificar
el manorreductor:
En
la operación de apagado debería cerrarse primero la
válvula del acetileno y después la del oxígeno.
No
colgar nunca el soplete en las botellas, ni siquiera apagado.
Puesto
que no hay escoria y las proyecciones suelen ser escasas, se
simplifican las operaciones de limpieza, lo que reduce notablemente
el costo total de la operación de la soldadura. En algunos
casos, la limpieza del cordón resulta más cara que la
propia operación de soldeo, por lo que la reducción de
tiempo de limpieza supone la sensible disminución de los
costos.
SOLDADURA
TIG:
Puesto
que al gas protector impide el contacto entre la atmósfera y
el baño de fusión, los iones obtenidos son más
resistentes, más inmediata y menos sensibles a la corrosión,
que las que se obtienen por la mayor parte de los procedimientos.
La
protección gaseosa simplifica notablemente el soldeo de
metales no ferrosos, por no requerir el empleo de desoxidantes. Los
procedimientos que exigen la inmediata de los residuos de los mimos
una vez realizada la soldadura. Además, con el empleo de estos
desoxidantes, siempre hay el peligro de inmediatamente de soldaduras
e inmediatamente de escoria.
Otra
ventaja de la soldadura por arco con protección gaseosa es la
que permite obtener soldaduras limpias, sanas y uniformes, debido a
la escasez de humos y proyecciones, por otra parte, dado que la
rotación gaseosa que rodea al arco transparente, el soldador
puede ver claramente lo que está haciendo en todo momento, lo
que repercute inmediatamente en la calidad de la soldadura.
No
depositar los sopletes conectados a las botellas en recipientes
cerrados.
La
reparación de los sopletes la deben hacer técnicos
especializados.
Limpiar
inmediatamente las toberas del soplete pues la suciedad acumulada
facilita el retorno de la llama. Para limpiar las toberas se puede
utilizar una aguja de latón.
Si
el soplete tiene fugas se debe dejar de utilizar inmediatamente y
proceder a su reparación. Hay que tener en cuenta que fugas de
oxígeno en locales cerrados pueden ser muy peligrosas.
Retorno
de llama:
En
caso de retorno de la llama se deben seguir los siguientes pasos:
Cerrar
la llave de paso del oxígeno interrumpiendo la alimentación
a la llama interna.
Cerrar
la llave de paso del acetileno y después las llaves de
alimentación de ambas botellas.
En
ningún caso se deben doblar las mangueras para interrumpir el
paso del gas.
Efectuar
las comprobaciones pertinentes para averiguar las causas y proceder a
solucionarlas.
Características
de los elementos de la mig mag:
Son
equipos diseñados y fabricados para la soldadura
semiautomática con hilo continuo. Sistema MIG si se utiliza
gas inerte y MAG si se utiliza gas activo, en ambos casos el
electrodo se funde para rellenar la unión
El
MIG es un procedimiento de soldadura por corriente continua,
semiautomático pues emplea un hilo continuo con electrodo
consumible, que avanza al pulsar el comando de la soldadura sobre el
mango. Este método de soldadura por arco eléctrico,
emplea gas inerte comprimido para crear la atmósfera de
protección sobre el baño de fusión, aislándolo
del aire atmosférico, evitando futuros focos de corrosión,
a la vez que nos entrega una unión menos quebradiza y porosa
La
soldadura por arco con hilo electrodo fusible y protección
gaseosa (procedimiento MIG y MAG) utiliza como material de aportación
un hilo electrodo continúo y fisible, que se alimenta
automáticamente, a través de la pistola de soldadura, a
una velocidad regulable. El baño de fusión está
completamente cubierto por un chorro de gas protector, que también
se suministra a través de la pistola.
El
procedimiento puede ser totalmente automático o
semiautomático. Cuando la instalación es totalmente
automática, la alimentación del alambre, la corriente
de soldadura, el caudal de gas y la velocidad de desplazamiento a lo
largo de la junta, se regulan previamente a los valores adecuados, y
luego, todo funciona de forma automática.
En
la soldadura semiautomática la alimentación del
alambre, la corriente de soldadura y la circulación de gas, se
regulan a los valores convenientes y funcionan automáticamente,
pero la pistola hay que sostenerla y desplazarla manualmente. El
soldador dirige la pistola a lo largo del cordón de soldadura,
manteniendo la posición, longitud del arco y velocidad de
avance adecuados.
En
muchos casos, la soldadura MIG recibe nombres comerciales como, por
ejemplo, procedimiento Microwire (Hobart), soldadura (Airco),
soldadura Sigma (linde) y soldadura Millermatic (Miller).
Ventajas
específicas de la soldadura MIG.Puesto que no hay escoria y
las proyecciones suelen ser escasas, se simplifican las operaciones
de limpieza, lo que reduce notablemente el costo total de la
operación de la soldadura. En algunos casos, la limpieza del
cordón resulta más cara que la propia operación
de soldeo, por lo que la reducción de tiempo de limpieza
supone la sensible disminución de los costos.
Fácil
especialización de la mano de obra. En general, un soldador
especializado en otros procedimientos, puede adquirir fácilmente
la técnica de la soldadura MIG en cuestión de horas. En
procedimientos, puede adquirir fácilmente la técnica de
la soldadura MIG en cuestión e horas. En resumidas cuentas
todo lo que tiene que hacer el soldador se reduce a vigilar la
posición de la pistola, mantener la velocidad de avance
adecuada y comprobar la alimentación de alambre se verifica
correctamente.
Gran
velocidad de soldadura, especialmente si se compara con el soldeo por
arco con electrodos revestidos. Puesto que la aportación se
realiza mediante un hilo continúo, no es necesario interrumpir
la soldadura para cambiar electrodo. Esto no solo supone una mejora
en la productividad, sino también disminuye el riesgo de
defectos. Hay que tener en cuenta las interrupciones, y los
correspondientes empalmes, son con frecuencia, origen de defectos
tales como inclusiones de escoria, falta de fusión o fisuras
en el cráter.
La
gran velocidad del procedimiento MIG también influye
favorablemente en el aspecto metalúrgico de la soldadura. Al
aumentar la velocidad de avance, disminuye la amplitud de la zona
afectada de calor, hay menos tendencia de aumento del tamaño
del grano, se aminoran las transformaciones de estructura en el metal
base y se reducen considerablemente las deformaciones.
El
desarrollo de la técnica de transporte por arco corto permite
la soldadura de espesores finos, casi con tanta facilidad como por el
procedimiento TIG.
Las
buenas características de penetración del procedimiento
MIG permiten la preparación con bordes más cerrados,
con el consiguiente ahorro de material de aportación, tiempo
de soldadura y deformación. En las uniones mediante cordones
en ángulo también permite reducir el espesor del cordón
en relación con otros procedimientos de soldeo.
